片仔癀逼近2000元的秘密是什么?
原标题:片仔癀逼近2000元的秘密:原材料可达80万/公斤,市场供给不足5%
在药品降价成为医改主旋律的背景下,没有哪种药的定价可以永远高高在上。
面对医保谈判,即使是最受追捧的抗癌新药,价格也不得不对半砍,为进集采降价90%以上的例子更是比比皆是。
但被称为“药中茅台”的片仔癀是个例外。

图片来源:视觉中国
西南证券研报指出,根据历年公告推测,2004-2020年的16年间,片仔癀的国内零售价提价9次,从325元提升到了590元,涨价81%。
锭剂片仔癀每粒仅重3克,平均约197元/克,而500毫升的飞天茅台售价1499元,平均约3元/毫升。从这一点来看,茅台的定价还不如片仔癀高。
片仔癀的市值也水涨船高。截至6月29日收盘,片仔癀(600436.SH)总市值达2711.97亿元,稳居“中药一哥”宝座,远超同样手握国家绝密级中药配方的云南白药(000538.SZ)的1460.20亿元,以及老牌中药企业同仁堂(600085.SH)的553.8亿元。
据Wind数据,片仔癀股价今年3月9日以来一路走高,截至6月29日收盘涨幅达75.92%。截至今年一季度末,其股东户数为12.43万,户均持股数4856股。

截至2021年一季度末前十大机构投资者持股情况。截图来源:Wind
“求购者是之前的20倍”
比茅台还贵的定价,丝毫没有影响市场对片仔癀的追捧。
6月下旬,时代财经在广州市越秀区一家片仔癀门店获悉,目前广州地区的片仔癀门店都已经缺货,想要购买片仔癀需要提前至少一个月预定。
“片仔癀一直都很难买,但以前不需要排队这么久。近期买片仔癀的顾客多了很多,感觉是以前的20倍。”上述门店的员工对时代财经表示。
在天猫片仔癀大药房旗舰店上,锭剂的片仔癀也长期处于缺货状态。客服回复时代财经称,目前无法确定什么时候会补货。
时代财经多方了解后发现,不同区域、不同渠道的片仔癀价格差异巨大。
据了解,目前片仔癀的官方零售价为590元,但淘宝上其他线上药房的售价普遍为700-1000元。
“现在以官方590元的价格几乎是不可能买到片仔癀的,我们现在预订的价格是738元,但也不能保证一定有货,所以不敢提前收定金。”上述片仔癀门店的员工对时代财经表示。
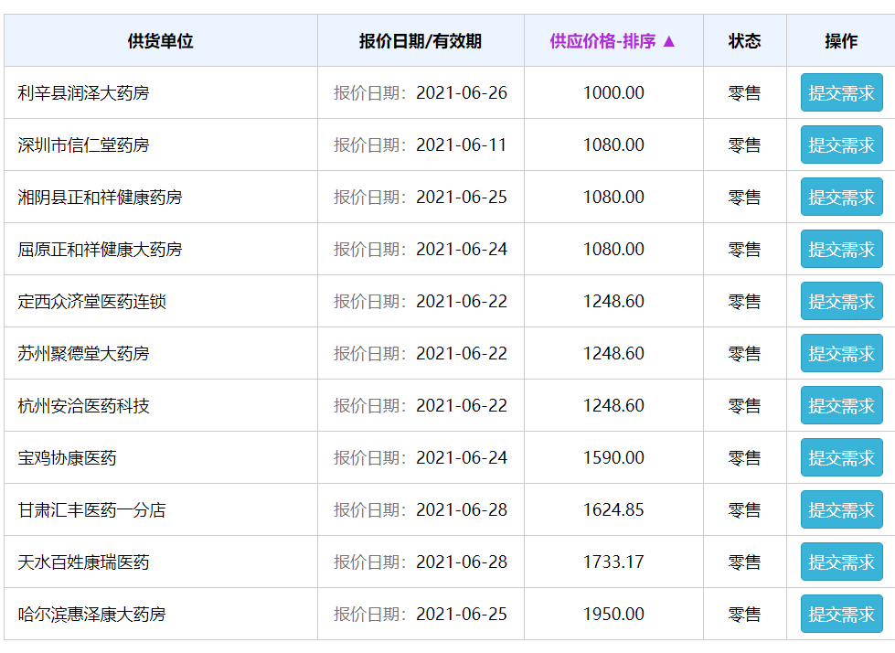
药品价格315网显示,一粒装的片仔癀全国各地的零售药房报价均在1000元以上,其中哈尔滨一家药房报价已经达到1950元/粒,而一年前的2020年6月片仔癀在该网站的最低成交单价仅为458元/粒。

图片来源:药品价格315网
6月28日,上述哈尔滨药房的工作人员在电话里告诉时代财经,药房里目前没有片仔癀的现货,购买需要预订,1950元不代表实际交易价格,最终售价取决于进货价。
随着片仔癀价格的飞涨,“黄牛党”也循声而至。而与药房的售价相比,隐藏在暗处的非正规渠道的售价更低。
一名正在回收片仔癀的“黄牛”向时代财经透露,片仔癀的回收价750元,售价880元。“线上药房的都是高价货,售价肯定比我们贵。”
原材料1公斤可达80万元
赵晓(化名)是土生土长的漳州人,在她看来,片仔癀在漳州本地人心里是“神药”一般的存在,其定价一直不菲。
“以前也听说过有人在炒高片仔癀的价格,但本地人是很少用高价买的,因为找一下熟人还是可以以原价买到。”赵晓6月24日与时代财经谈到片仔癀时如是说。
片仔癀的主要原材料包括麝香、牛黄、蛇胆和三七,其中麝香和蛇胆都需要严格按照国家有关规定组织采购。截至2016年,我国仅有14家企业有天然麝香的使用权,片仔癀便是其中之一。
根据西南证券研报,天然麝香和牛黄是片仔癀的两大核心原料成本,两者所占原材料成本的比重达到90%。
麝香指的是成年雄麝香囊中的干燥分泌物,一头成年雄麝每年仅能产出20克左右麝香。麝香具有开窍醒神、活血通经、消肿止痛的功效。牛黄则是牛胆囊的胆结石,中医认为有镇静、镇痛、解热、抗炎等功效。
无论是天然麝香,还是天然牛黄,产量都十分稀少。
根据陕西卫视报道,陕西省宝鸡市凤县是全国最大的林麝养殖地之一,县内林麝养殖规模达到1.8万头,占全国的60%,麝香年产量70-80公斤,占全国的80%的以上。以此推算,我国麝香年产量约为87.5-100公斤,凤县林业局野生保护站站长周建文在接受媒体采访表示,我国麝香产量尚不足市场需求量的5%。
根据时代财经从药材批发商、林麝养殖从业者、康美中药网等多方了解到的信息,天然麝香国家统购价格为400元/克(40万元/公斤),而市场价格为125-800元/克(12.5-80万元/公斤)不等,不同卖家的定价差异巨大。
天然牛黄同样稀缺。中国中药协会数据显示,我国每年产出的天然牛黄不到1000公斤,而传统名贵中成药中的牛黄需求量约5000公斤。根据康美中药网,从今年2月至今,天然牛黄的市场价格从400元/克涨至480元/克,涨幅达20%。

图片来源:康美中药网
据了解,目前市场上有人工麝香、人工牛黄出售,其价格较天然的更便宜。康美中药网显示,人工麝香的定价约为50元/克,人工牛黄市场价仅为1元/克。但人工合成的麝香、牛黄并不能完全替代天然药材。
6月29日,看懂研究院研究员何世光对时代财经表示:“天然牛黄、麝香与人工的区别是显而易见的,天然的牛黄、麝香中有许多我们还不能识别的细微物质。比如人工牛黄虽然也含有牛黄的主要成分胆红素,但天然牛黄还有很多其他的微量成分,两者显然不能一概而论。”
“药中茅台”片仔癀?
有观点认为,片仔癀有保肝护肝的功效,因此片仔癀与茅台之间形成了某种奇妙的联系。
深圳中金华创基金董事长龚涛近日在接受时代财经采访时指出,片仔癀虽然是处方药,但其毒副作用小,实际上没有几个消费者会凭处方买药,且片仔癀的保质期较长,这导致了较其他药品而言,片仔癀更容易囤货,甚至有消费者将片仔癀当成送礼的奢侈品,这种不良的消费导向引发了市场投资者将其对标茅台。
根据说明书,片仔癀主治清热解毒、凉血化瘀,消肿止痛,用于热毒血瘀所致急慢性病毒性肝炎,痈疽疔疮,无名肿毒,跌打损伤及各种炎症。
但在实际应用中,片仔癀的用途远比说明书介绍的更为广泛。
“本地人一般都用片仔癀治疗一些比较冷门的疑难杂症,比如各种细菌、病毒感染或者不明原因引起的皮肤病、肠胃病、肝病、炎症之类的。反正当医院也检查不出具体病因,或者是在医院的治疗效果不好时,就试试片仔癀,总有惊喜。基本上随便问个漳州人,都能听到几个关于片仔癀让人绝地逢生的故事。”赵晓说。
药智网显示,锭剂的片仔癀属于双跨品种。所谓双跨品种指的是,同一种药既可以作为非处方药,也可以作为处方药。界定“双跨”药品的身份主要看其适应症。在作为处方药时,双跨药品也必须凭执业医师或助理执业医师开具的处方,经药师审核后才能购买。
当在线上药房或线下门店购买片仔癀时,消费者一般会被要求出示医师处方,但实际上在线下药房或者其他购买渠道,购买片仔癀对处方的要求并不严格。这使得与一般的处方药相比,片仔癀的购买门槛更低,给囤货、价格炒作留下了空间。
“用片仔癀和茅台来对标是不合理的。”龚涛表示,“投资者看中上述几个特性,便将茅台和片仔癀对标,加之炒作,但一种是食品,一种是药品,两类不同品类注定不是一个赛道上的。
下一篇:2020恒大业绩会:恒大有息负债一年大降3000亿
返回首页